Bencinski motor brez izpustov? Mazda pravi, da ja!
20.09.2025
Če pogledamo v njeno zgodovino, je Mazda že dolgo poznana tudi zaradi občasnih drugačnih idej, še posebej ko gre za pogonsko tehniko. Spomnimo se rotacijskega motorja, pa tudi aktualnih skyactiv rešitev s kompresijskim vžigom pri bencinarjih. No, sedaj so se domislili še veliko bolj okolju prijazne, a neizmerno zapletene rešitve.
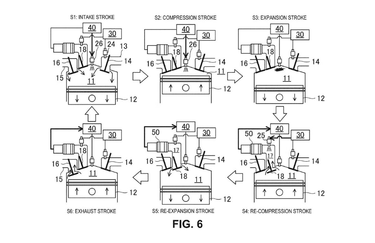
Končni cilj najnovejše tehnologije, za katero so vložili patentni zahtevek, je bencinski motor brez izpustov CO2. Imenujejo ga »Sistem za reformiranje goriva«, v praksi pa naj bi šlo za motor, katerega proces delovanja ima kar šest taktov. Rezultat je popolna razgraditev goriva na vodik in trdni ogljik. Čisti vodik tako zgoreva s praktično ničelnimi emisijami ogljikovega dioksida.
Prvi trije cikli – sesalni, kompresijski in ekspanzijski – potekajo na enak način kot pri klasičnem štirivaljnem motorju. Po izpušnem taktu pa, namesto da bi bat izpušne pline potiskal v izpuh, jih ponovno stisne. Med tem postopkom prehajajo skozi poseben razgrajevalnik oziroma katalizator, kjer se vročim plinom doda majhna količina bencina. Visoka temperatura povzroči tako imenovano pirolizo, pri čemer se ogljik ujame, vodik pa se loči. Ta se v petem taktu vrne v valj, zmeša s svežim zrakom in ponovno eksplodira. Šele v šestem taktu preostali plini zapustijo izpuh. Brez ogljika pa so sestavljeni predvsem iz vodne pare in inertnih plinov.

Seveda se pri tem poraja ogromno vprašanj in dvomov v možnost praktične aplikacije tovrstnega motorja. Prvi razlog za to je sila zapletena zgradba in tehnologija, ki jo zahteva tovrstna inovacija. Potem pa je tu še vprašanje, kje in kako mislijo pri Mazdi rešiti odlaganje zbranega ogljika, ki bi se nabiral v razmeroma velikih količinah. Če pomislimo, da danes na vsak prevožen kilometer bencinski ali dizelski avtomobil v zrak redko izpusti manj kot 100 gramov CO2, je jasno kako veliko trdnih delcev bi se nabralo v času izpraznjenja povprečnega rezervoarja za gorivo.
Kakorkoli že, je vseeno lepo videti željo in zagon proizvajalcev, ki želijo motorju z notranjim zgorevanjem podaljšati življenje.
